Comment charger des enveloppes?
-
Vous pouvez imprimer des documents et des photos sur une variété de types et de formats de papier différents.
- Faites basculer le volet protecteur de l'alimenteur vers l'avant, puis déployez le support papier.

- Faites glisser les guide-papier complètement vers l'extérieur.

- Si vous insérez une pile de papier, aérez-la puis taquez-la sur une surface plate pour égaliser les bords.

Remarque: Veillez à ce que le papier photo ne soit pas gondolé et ne l'aérez pas.
- Choisissez l'une des méthodes suivantes :
- Insérez le papier face d’impression ou brillante vers le haut, côté court en premier, au centre du support papier.

Remarque: Chargez le papier côté long en premier, si le côté long est réglé en tant que largeur d'une taille papier personnalisée.
- Chargez jusqu'à 10 enveloppes au centre du support papier. Chargez les enveloppes face d’impression vers le haut et rabat vers la gauche.

- Chargez une feuille mobile ou un autre type de papier avec perforations tel qu'illustré.

Remarque: L'impression recto verso automatique n'est pas disponible pour le papier pré-perforé.
- Pour charger une feuille de papier plus longue que le format légal, fermez le support papier et le bac de sortie, puis placez le bord d'attaque du papier comme indiqué.

- Insérez le papier face d’impression ou brillante vers le haut, côté court en premier, au centre du support papier.
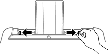
- Faites glisser les guide-papier contre le papier, sans trop serrer.

- Inclinez protecteur de l'alimenteur jusqu'à ce que la pièce A ne touche pas au papier.
Remarque: Le protecteur de l'alimenteur est conçu pour s'arrêter mi-distance afin d'éviter les problèmes d'alimentation du papier. Inclinez-le jusqu'à ce qu'il s'arrête. Ne placez pas d'objets sur le protecteur de l'alimenteur. Cela pourrait empêcher l'alimentation papier.
- Lorsqu'un message vous y invite à l'écran ACL, sélectionnez la taille et le type de papier que vous avez chargé dans le produit et appuyez sur le bouton OK.
Remarque: Si vous imprimez sur du papier à en-tête, assurez-vous de sélectionner En-tête comme type de papier. Assurez-vous de sélectionner le bon paramètre de taille de papier. Pour le papier à en-tête, si vous imprimez sur du papier plus court que le paramètre indiqué dans le pilote d'imprimante, l'impression pourrait dépasser les bords du papier et causer du maculage sur vos tirages et un excès d'encre pourrait s'accumuler à l'intérieur de l'imprimante. L'impression sans marge et l'impression recto verso ne sont pas disponibles pour le papier à en-tête. L'impression sur du papier à en-tête pourrait être plus lente.
- Déployez le plateau de sortie.

- Ne chargez que le nombre de feuilles recommandé.
- Chargez le papier avec le bord court en premier.
Remarque: Vous ne pouvez charger le papier avec le bord long en premier que si vous avez sélectionné le paramètre de taille de papier User-Defined et que vous avez réglé la largeur du papier correspondant à la taille du bord long.
- Chargez le papier à en-tête ou préimprimé bord supérieur en premier.
- Ne chargez pas de papier au-dessus de la flèche à l’intérieur des guides latéraux.
- Aérez le papier et alignez le bord avant de le charger. Veillez à ce que le papier photo ne soit pas gondolé et ne l'aérez pas. Cela pourrait endommager la face d'impression.
- Si le papier est gondolé, aplatissez-le ou enroulez-le dans l'autre sens avant de le charger. L'impression sur du papier gondolé peut provoquer des bourrages papier et des bavures sur l'impression.
- Des problèmes d'alimentation papier peuvent se produire fréquemment pour l'impression recto verso manuelle lors de l'impression sur une face du papier préimprimé. Réduisez le nombre de feuilles de moitié ou moins, ou chargez une feuille de papier à la fois si les bourrages de papier persistent.
- Assurez-vous d'utiliser du papier à grain long. Si vous n'êtes pas certain du type de papier que vous utilisez, vérifiez l'emballage du papier ou communiquez avec le fabricant pour confirmer les caractéristiques du papier.
- Aérez les piles d'enveloppes et alignez leurs bords avant de les charger. Si vous avez de la difficulté à charger une pile d'enveloppes, pressez chaque enveloppe afin de la rendre lisse avant de la charger ou chargez une seule enveloppe à la fois.
- Si la qualité d'impression diminue lors de l'impression de plusieurs enveloppes, essayez de charger une seule enveloppe à la fois.
- Consultez l’emballage du papier pour des directives de chargement supplémentaires.
Sélection des paramètres papier - Panneau de commande
Références associées
Capacité d'impression recto verso
Capacité de chargement du papier - Faites basculer le volet protecteur de l'alimenteur vers l'avant, puis déployez le support papier.