Comment charger des enveloppes?
-
Voir ci-dessous.
Chargement de papier dans l'alimenteur de papier arrière
Vous pouvez imprimer des documents et des photos sur une variété de types et de formats de papier différents.- Faites basculer le volet protecteur de l'alimenteur vers l'avant, puis déployez le support papier.

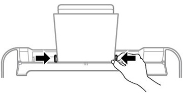
- Faites glisser les guide-papier complètement vers l'extérieur.

- Si vous insérez une pile de papier, aérez-la puis taquez-la sur une surface plate pour égaliser les bords.

Remarque : Veillez à ce que le papier photo ne soit pas gondolé et ne l'aérez pas.
- Choisissez l'une des options suivantes :
- Insérez le papier face d’impression ou brillante vers le haut, côté court en premier, au centre du support papier.

- Chargez jusqu'à 10 enveloppes au centre du support papier. Chargez les enveloppes face d’impression vers le haut et rabat vers la gauche.

- Chargez une feuille mobile ou un autre type de papier avec perforations tel qu'illustré.

- Pour charger une feuille de papier plus longue que le format légal, fermez le support papier, puis placez le bord d'attaque du papier comme indiqué.

- Insérez le papier face d’impression ou brillante vers le haut, côté court en premier, au centre du support papier.
- Faites glisser les guide-papier contre le papier, sans trop serrer. Puis, faites basculer le volet protecteur de l'alimenteur vers l'arrière.

Remarque : Ne placez pas d'objets sur le protecteur de l'alimenteur. Cela pourrait empêcher l'alimentation papier.
- Tirez le plateau de sortie vers l'extérieur et levez le butoir.

- Lorsqu'un message vous y invite à l'écran ACL, sélectionnez la taille et le type de papier que vous avez chargé dans le produit et appuyez sur le bouton OK.
- Ne chargez pas plus de feuilles que le nombre maximal spécifié pour le type de papier que vous utilisez.
- Ne chargez pas de support au-dessus de la flèche à l’intérieur des guide-papier.
- Chargez le papier avec le bord court en premier.
Remarque : Vous ne pouvez charger le papier avec le bord long en premier que si vous avez sélectionné le paramètre de taille de papier User-Defined et que vous avez réglé la largeur du papier correspondant à la taille du bord long.
- Chargez le papier à en-tête ou préimprimé bord supérieur en premier.
- N'utilisez pas de papier ondulé, déchiré, coupé, plié, humide, trop épais, trop mince ou enroulé, ou du papier comportant des autocollants. L'utilisation de ces types de papier peut provoquer des bourrages papier et maculer les tirages d'encre.
- Aérez les piles d'enveloppes et alignez leurs bords avant de les charger. Si les piles d'enveloppes sont gonflées d'air, aplatissez-les avant de les charger.
- Ne chargez pas d'enveloppes courbées, pliées ou trop minces, ou des enveloppes à fenêtre en plastique ou comportant des surfaces adhésives.
- Consultez l’emballage du papier pour des directives de chargement supplémentaires.
- Rangez le papier non utilisé dans son emballage pour éviter qu'il ne s'enroule et pour éviter de réduire la qualité d'impression.
- Si vous utilisez du papier perforé, ne chargez qu'une seule feuille à la fois. Ajustez la position d'impression de votre fichier pour éviter d'imprimer par-dessus les trous.
Capacité de chargement du papier
Caractéristiques du papier - Faites basculer le volet protecteur de l'alimenteur vers l'avant, puis déployez le support papier.
Publié : 12 août 2021
Cette réponse a-t-elle été utile? Merci de votre réponse.