Comment imprimer depuis une clé USB ou un appareil de stockage externe?
-
Connectez votre dispositif USB dans le port USB situé à l'avant du produit. Pour imprimer une image, suivez les instructions ci-dessous en fonction de votre type d'image.
Remarque: Epson ne peut garantir la compatibilité de votre dispositif. Assurez-vous que les fichiers qui y sont enregistrés sont compatibles avec le produit.
Connexion et utilisation d'une clé USB ou d'un https://files.support.epson.com/docid/cpd6/cpd61342/source/printers/source/printing_device/tasks/xp8600/device_flash_connecting_xp8600.html
Avant de connecter votre clé USB ou votre https://files.support.epson.com/docid/cpd6/cpd61342/source/printers/source/printing_device/tasks/xp8600/device_flash_connecting_xp8600.html, assurez-vous que le produit est sous tension, mais non en cours d'impression.Remarque: Epson ne peut garantir la compatibilité de votre dispositif.
- Retirez toute carte mémoire dans le produit.

Mise en garde:
Ne retirez pas une carte mémoire et n'éteignez pas votre produit quand le témoin d'accès à la carte mémoire clignote, ou vous risquez de perdre les données qui s'y trouvent. - Chargez le papier sur lequel vous souhaitez imprimer.
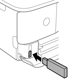
- Connectez la clé USB ou le câble USB accompagnant votre dispositif au port
USB situé à l’avant de votre produit.

- Insérez un support de données, comme un CD, dans le lecteur, le cas échéant.
- Sélectionnez les photos à imprimer à partir de l'écran ACL.
Mise en garde:
Tâches associées
Ne retirez pas le dispositif USB et n’éteignez pas le produit pendant que le témoin d’accès au dispositif de stockage clignote, car vous risquez de perdre les données sur le dispositif.
Connexion et impression depuis un appareil photo
Retrait d'une carte mémoire
Affichage et impression de photos depuis l'écran ACL
Information associée
Chargement du papier - Retirez toute carte mémoire dans le produit.